Prosecutors filed seditious conspiracy charges Thursday against the leader of the far-right Oath Keepers militia group and 10 suspected associates, marking the first such case in the Jan. 6, 2021, U.S. Capitol riot and one of just a few in the nation's hi...
Having played with both Patrick Mahomes and Josh Allen, Mitch Morse knows a thing or two about a passhappy offense.
Groww had raised USD 251 million (around Rs 1,885 crore) in October last year in a funding round led by Iconiq Growth, which valued the mutual fund and stock investment platform at USD 1 billion.
Two weeks after he tested positive, he has fully recovered but continues to remain in institutional quarantine as per protocol.
Vijay started Paytm in the year 2010 from a rented room in South Delhi.
The Biden administration is calling on Congress to pass legislation that would strengthen government regulation of stablecoins, a form of cryptocurrency that has soared in popularity in the past year.
As he prepares to launch a new media company that will give him his own social media platform, former President Donald Trump has ramped up his efforts to rewrite history, spreading more lies about the 2020 election in November and the deadly storming of t...
Congress may have been struggling to establish itself in UP, which is due for polls next year, but by visiting Lakhimpur before SP, BSP, it seems to have gained brownie points.
On receiving a complaint that the man is alive, the Vigilance Department of the railways conducted a probe and finding substance in the allegation, referred the matter to the CBI, the SER official said.
The eligible candidates can apply for the post till May 28.
The Jesuit priest who presided over an inaugural Mass for President Joe Biden has resigned his position as president of Santa Clara University in Northern California, college officials said, after an investigation found he engaged in inappropriate, alcoho...
Both women had to pass through a mandatory security check and a Covid-19 test. Kailash arrived in the country along with her mother and brother, while Chagan reached with her father.
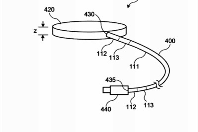
Apple's patent filing explains that "bending of the cable near the termination point may cause unwanted strain on the wire connections," indicating that it leads to fraying of the wire near end-points. The patent design is filed with the US Patent and Tra...
Apple analyst Ming-Chi Kuo had stated that the next iPhone SE 2021 would not release in the first half of this year. Apple is also reportedly working on iPhone SE Plus.
Britain is on track to make COVID19 vaccines widely available by next spring after the shot developed by Oxford University and AstraZeneca was up to 90% effective in trials, the head of the university's Jenner Institute said on Monday.