Apple Patent Application Looks at Solution for Charging Cables to Prevent Fraying
Apple Patent Application Looks at Solution for Charging Cables to Prevent Fraying
Apple's patent filing explains that "bending of the cable near the termination point may cause unwanted strain on the wire connections," indicating that it leads to fraying of the wire near end-points. The patent design is filed with the US Patent and Trademark office.

If you have owned the same iPhone for more than two years, chances are that you must have replaced the charging cable at least once. Apple’s charging cables aren’t exactly known for its durability, and it appears that the company now wants to fix this issue. As per the latest patent filing by the company (first spotted via AppleInsider), the Cupertino-based tech giant is working on a “cable with variable stiffness.” Notably, Apple does not specifically mention ‘Lightning Cables’ anywhere in the patent filing, so this could be a broader design for its portfolio that includes iPhone, wireless earbuds and headphones, iPad, Apple Watch, and more.

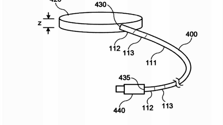
Apple’s patent filing explains that “bending of the cable near the termination point may cause unwanted strain on the wire connections,” indicating that it leads to fraying of the wire near end-points. The company also describes some different ideas for a cable that wouldn’t fray as easily. For instance, Apple talks about “strain relief sleeve” — the stiff cap present at the ends of many cables to increase flexibility without affecting durability. The company would likely use a similar “stiff” material without making the wire too thick to improve durability and portability.

Here’s how Apple describes it in the patent: “A cable can include a cable core surrounded by an outer sleeve having a uniform thickness and further having a first longitudinal section having a first stiffness (e.g., corresponding to a flexible cable), a second longitudinal section having a second stiffness (e.g., corresponding to a rigid cable), and a third longitudinal section between the first and second longitudinal sections, where the second stiffness is greater than the first stiffness and where the stiffness of the third longitudinal section varies between the first stiffness and the second stiffness. The second longitudinal section can provide strain relief for the cable.”

Patent images also indicate that Apple will also use the same cable material for its MagSafe chargers. Readers must note that patent filing does not always indicate the arrival of the tech. Apple may be experimenting with the “strain relief sleeve” option for its charging cables.

Read all the Latest News, Breaking News and Coronavirus News here

What's your reaction?

Comments

https://filka.info/assets/images/user-avatar-s.jpg

0 comment

Write the first comment for this!